Saulės kolektorių valdiklis Lago SD2
| Produkto ID | 000000034 |
| Gamintojas | Kromschröder |
Aprašymas
Elster Kromschroder ir modernių skaitmeninių technologijų veiklos rezultatas – protingas valdymo blokas, kuris nepaisant funkcijų įvairumo yra paprastas naudoti.
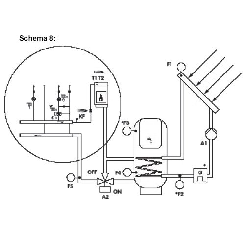
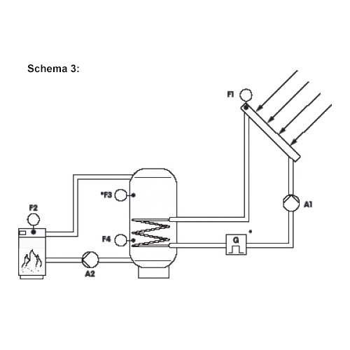
Valdiklis gali būti naudojamas vienos iš 9 galimų schemų valdymui (žr. nuotraukas):
Schema 1: Saulės sistema
Schema 2: Kieto kuro katilas su dviem tūriniais vandens šildytuvais
Schema 3: Kieto kuro katilas su saulės sistema
Schema 4: Saulės sistema su dviem kolektoriais
Schema 5: Saulės sistema su dviem tūriniais šildytuvais, perjungiamais vožtuvo pagalba
Schema 6: Saulės sistema su dviem tūriniais šildytuvais, kraunamais atskirais siurbliais
Schema 7: Saulės sistema su pašildymo funkcija
Schema 8: Saulės sistema su šildymo sistemos grįžtamo srauto temperatūros pakėlimu
Schema 9: Saulės sistema su dviem tūriniais šildytuvais, keičiamais kaskadiniu būdu
* Gali reikėti papildomų komponentų ar jutiklių.
Valdiklio galimybės
- 5 įėjimai temperatūros jutikliams
- 1 pulsinis įėjimas šilumos kiekio matavimui
- 2 reliniai išėjimai
- Kolektoriaus apsaugos funkcija / Tūrinio šildytuvo vėsinimas
- Pašildymo funkcija naudojant 7 schemą
- Grįžtamos temperatūros pakėlimas naudojant pamaišymą
- 2 valdomi diferencialai (temp. skirtumai)
- Keičiama histerezė nuo 1 iki 30 K
- Apsauga nuo siurblio užstrigimo
- Siurblio trumpo įjungimo funkcija temperatūros kolektoriuje išmatavimui
- Šilumos kiekio apskaičiavimas pagal pratekantį srautą (debitą)
- Neutralus perjungiamas kontaktas antram šilumos generatoriui
- Lengvas montavimas ir prijungimas
- Prie sienos tvirtinamas korpuso pagrindas
Temperatūrų skirtumo valdiklis Lago SD2 tiekiamas kartu su 2 PT1000 jutikliais (kolektoriaus bei vandens kaupiklio) ir korpuso pagrindu tvirtinimui prie sienos.
Informacija atsisiuntimui
![]() | Prekybos vietos |




























